時間:2025-09-30 10:02:42 瀏覽量:111
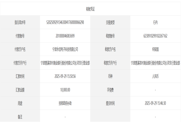
在人才競爭日益激烈的當下,國家對技能人才的重視程度不斷提升,各類技能補貼政策也相繼落地。近日,我司模具部五金模技工何保國就切實享受到了這一紅利——憑借剛取得的模具工技師證書,成功申領到1萬元一次性技能補貼,成為公司技能提升的“先行者”和“受益者”。



事情要從何保國對技能提升的執著說起。作為模具部的骨干技工,何保國始終深知“技多不壓身”的道理,在日常工作中不僅認真鉆研業務,還主動利用業余時間參加模具工技能培訓,朝著更高等級的技能證書發起沖擊。經過數月的刻苦學習和實操練習,他順利通過了模具工技師資格考核,拿到了沉甸甸的技師證書。



證書到手后,公司行政部門第一時間行動起來。依據寧波市人力資源和社會保障局關于提升人才技能補貼的相關要求,以及《慈溪市人民政府辦公室關于貫徹落實穩就業政策全力促發展惠民生的通知》(慈政辦發〔2024〕10號)文件中明確的標準——技師可享受1萬元一次性補貼、高級技師可享受2萬元一次性補貼,行政同事積極協助何保國整理申請材料,精準核對文件要求,高效完成了補貼申請的遞交工作。



經過相關部門的審核,補貼款項很快獲批。當財務人員將1萬元技能補貼轉帳送到何保國手中時,他難掩激動之情:“真沒想到提升技能還能拿到這么實在的補貼,這不僅是對我努力的肯定,更讓我有了繼續提升技能的動力!”



其實,何保國的經歷并非個例。國家出臺技能補貼政策,企業推進多能工培養,都是為了鼓勵更多人重視技能提升、投身全面發展,讓“有技能、肯鉆研、能擔當”的人才得到實實在在的回報。無論是想在現有崗位上進一步突破,還是希望拓展職業發展空間,走“核心技能+多崗位適配”的多能工成長之路,都是一條“穩賺不賠”的道路——既能拿到權威證書證明核心實力,又能憑借多能技能獲得企業專項激勵,還能享受國家補貼增加收入,可謂“一舉三得”。



各位佳人,看到何保國的收獲,你是否也心動了呢?如果你也有提升核心技能、成為多能工的想法,不妨主動了解相關政策和公司培訓資源:公司不僅會定期組織多能工交叉培訓、師徒結對活動,還會為參與多能工培養的員工提供崗位實踐機會和技能認證支持,在補貼申請、技能考核等方面全程保駕護航。相信只要你愿意付出努力,下一個拿到技能補貼、獲得多能工激勵、實現自我突破的,就會是你!



未來,公司也將持續關注技能人才培養和補貼政策落實,為大家搭建更多提升技能、實現價值的平臺。讓我們一起以何保國為榜樣,積極投身技能學習,用過硬的本領為自己的職業生涯添磚加瓦,共同在奮斗中收獲成長與回報!

編輯:彭飛飛 一審:姬得軍 二審:何水龍
地址:浙江省慈溪市長河鎮工業園區三橫路西段